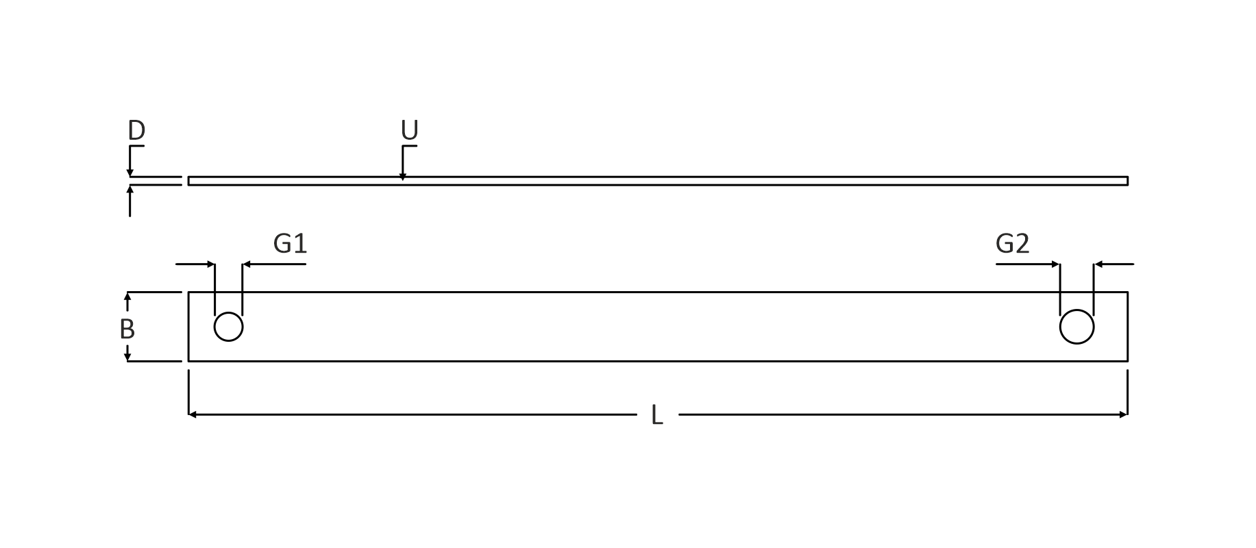
Zekerheids strip
| Afmetingen | TKN8 - TKN10 - TK10 - TK12 - TK16 |
|---|---|
| Materiaal | Elektrolytisch verzinkt |
| Specificaties | : veiligheidstrip voor bevestigen balkklem / C-klem. |
| Toepassing | : alle balkklemmen kunnen met de veiligheidstrip worden geborgd tegen afschuiven. |
| Montage | : gat in de strip plaatsen tussen de bout en borgmoer, uiteinde om de balk zetten. |
| VdS-regelgeving | : bij het bevestigen van buizen groter dan DN65 is de veiligheidstrip verplicht. |
| Materiaal | : staal elektrolytisch verzinkt volgens DIN EN ISO 4042. |